

一、概述
平衡式泡沫比例混合装置是国内比较先进的大型泡沫灭火装设备,我公司生产的PHP系列平衡式泡沫比例混合装置,执行国家标准GB20031-2024《泡沫灭火设备》进行生产,工艺先进,质量稳定,使用范围广,该系统主要适用于大型石油化工的罐区、码头、机场(库)、海上石油平台等重要火灾危险场合。
平衡式泡沫比例混合装置是向泡沫消防系统提供泡沫混合液的新型泡沫灭火装置,其泡沫液可在系统工作过程中进行补充,储液量更大、可靠性更高,能连续向系统供给泡沫混合液,极大地提高系统的灭火能力,而且因为采用常压无囊泡沫液储罐储存泡沫液,所有避免了胶囊破裂的危险,降低了维护费用,同时减少了压力容器的造价,使装置具有极高的性价比,更好地满足现代大型泡沫消防工程的需求。
平衡式泡沫比例混合装置主要特点:
1、平衡阀动态调节进入泡沫比例混合器的泡沫液量,保证了精确的混合比;
2、采用耐腐蚀的不锈钢或青铜材质的泡沫液齿轮泵供给泡沫液,使得泡沫混合液工作压力和流量有较大的适应范围,不会因泡沫液的腐蚀而锈死;
3、常压、无囊不锈钢或玻璃钢、聚乙烯材质的泡沫液储罐,维护简便,可靠性高;
4、呼吸阀维持泡沫液储罐内外压力平衡;
5、安全阀紧急泄压保证装置管路安全;
6、装置适用于目前任何泡沫灭火剂(蛋白、氟蛋白、水成膜等);
7、灭火过程中可以随时添加泡沫液,能更好的满足现代大型泡沫消防工程的需求;
8、本装置可按用户要求采用手动控制或全自动控制(远程控制、远程监视等)进行操作,可靠性更强。
型号的意义 解说:例如:

二、平衡式泡沫比例混合装置所配用的泡沫贮罐规格见下表:

平衡式泡沫比例混合装置动作程序如下:

图二装置动作程序方框图
由水泵提供的压力水在流经泡沫比例混合器时,泡沫泵将储存在常压容器内的泡沫液注入装置管路,经泄压/持压阀和平衡阀的调压平衡后,适量的泡沫液与压力水按比例自动混合成泡沫混合液。泡沫混合液被输送至泡沫产生器、泡沫枪、泡沫炮或其它泡沫喷射设备,产生空气泡沫扑救甲、乙、丙类液体火灾。
1、结构组成
平衡式泡沫比例混合装置主要由常压泡沫液储罐、平衡阀、安全阀、泡沫比例混合器、泡沫泵、泡沫泵控制柜、支架及管道附件等集成为一体,结构紧凑。
各组成部件及用途如表二:

2、主要部件说明:
1)常压泡沫液储罐

图四常压泡沫液储罐外形图
如图四外形尺寸,常压泡沫液储罐采用卧式不锈钢罐。采用回转拱盖快开不锈钢人孔,维护方便、快捷。如遇特殊情况可以打开人孔,快速大量添加泡沫液,应对突发大型火灾。
泡沫液贮罐规格表

PG系列安装尺寸表:

2)泡沫液截止阀
选用手动/电动一体化球阀,可手动开闭,也可由控制柜实现自动控制开、闭。
3)泡沫泵
采用高性能的齿轮泵,其具有平坦的流量-压力性能曲线,且出口压力由背压决定的特点。因此,泡沫泵输出的泡沫液压力随系统压力变化而改变,减轻了泄压/持压阀及压力平衡阀应该调节的压差,从而提高压力平衡的精度。另外与同级别离心泵相比较还具有能自吸,不会气塞,能产生高的排出压力,运转速度低,减小了液体的搅动与剪切,体积小巧等优点。
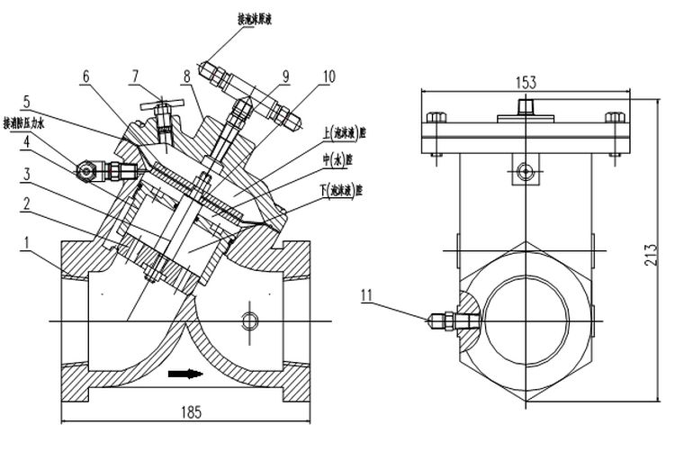
4)平衡阀

图五平衡阀结构及外形
1、阀体;2、活塞;3、活塞杆;4、活塞螺套;5、隔膜;6、压板;7、排气组件;
8、阀盖;9、接头;10、垫片;11、1/4接头
如图五,当消防水的压力增高时,平衡阀中(水)腔压力增高,阀内活塞开度自动增大,阀门压降减小,进入平衡阀上腔的泡沫原液压力升高,直到平衡;当消防水的压力降低时,平衡阀中(水)腔压力降低,阀内活塞开度自动减小,阀门压降增大,进入平衡阀上腔的泡沫原液压力降低,直到平衡。由于工作时水压始终存在波动甚至突然的变化,所以平衡阀处于动态平衡状态,使得适量的泡沫液和水进入比例混合器,形成泡沫混合液。
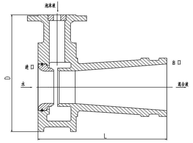
5)泡沫比例混合器

图六泡沫比例混合器结构图
采用泡沫比例混合器,其作用:将水和泡沫液按规定比例混合,输出泡沫混合液(外形见图六)。
6)安全阀
装置管路采用A21W-25P安全阀保护,当装置管路压力超过**大压力1.05-1.1倍时安全阀自动打开泄压,当管路内压力下降至工作压力时,安全阀关闭。
三、安装、调试与使用
1)PHP平衡式泡沫比例混合装置的安装依GB50281-98《泡沫灭火系统施工及验收规范》中的有关规定执行,外形尺寸见图三。
2)泡沫液储罐的底座应与基础用地脚螺栓固定住。安装位置和高度应符合设计要求,具体尺寸见图四和表三;当工程规范无规定时,泡沫液储罐四周应留有不小于700mm的通道,泡沫液储罐顶部至楼板或梁底的距离不得小于1000mm。
3)该装置宜安装在室内,避免日晒雨淋,并注意防高温和防冻。
4)装置使用过程如下:
a)消防水泵启动;
b)泡沫泵启动,泡沫液截止阀开启;
c)延迟30秒,泡沫泵动作;
d)灭火;
e)泡沫泵、水泵关闭;
f)泡沫液截止阀关闭。
5)装置各排液、排渣口处应设置地漏,使排出物分别流入地下水道,以免溢出污损环境。
6)装置安装完毕后,应按GB50281-98《泡沫灭火系统施工及验收规范》中3.3条的有关规定作强度和严密性检测。
四、维护与保养
1)维护保养和管理人员应熟悉平衡式泡沫比例混合装置的原理、性能和操作要求。
2)本装置的维护保养和管理按GB50281-98《泡沫灭火系统施工及验收规范》中的有关规定执行。
3)为使装置处于良好的备用状态,本装置需定期进行维护检查,并做好检查记录。
4)本装置每年在系统中至少要运行一次,检查装置上各阀门、管道及附件应完好无损。
5)本装置上的呼吸阀应按期进行校验。
6)每季度应对泡沫装置上的压力表、阀门、管道及附件进行外观检查,应完好无损。
7)各主要阀门应定期(每月不少于一次)做启闭检测,防止胶着、自锁。
8)每次使用完后,须用淡水将管道内冲洗干净,需要时表面要进行补漆防腐处理。
9)利用管道上的冲洗口,可对泡沫液管道进行清洗。
10)每次装置使用后,关闭储罐泡沫液截止阀,用清水通过冲洗口冲洗管路,防止锈蚀。
11)根据灌装的泡沫液供应商质保要求,应定期对罐内储存的泡沫液进行抽样检验。
12)定期更换过期泡沫液,彻底冲洗泡沫液储罐及管道附件,重新添加新液。
13)泡沫罐应避免阳光照射,并储存在温度变化较小的场所。
五、注意事项
1)装置焊有专用吊耳,供运输、安装时起吊用,不得以装置上管道或其它附件做吊耳,起吊时避免碰撞,以免造成各管路零件位移、渗漏。
2)装置使用前须先检查各接管及连接法兰是否紧固,各种阀门是否处于备用关闭状态。
3)装置使用前须详细阅读产品使用说明书,使用时严格按本说明书操作。
4)系统投入使用时,储罐内应按灭火系统设计用量充装泡沫液。
5)在使用、维护中发现异常情况应及时通知本公司,本公司将根据情况进行技术指导或现场处理。